欢迎光临welcome威尼斯第二周在线教学典型案例之三——《数据结构》课程线上教学
钮小萌(信息科学与工程学院)
根据省教育厅和学校关于新冠肺炎疫情防控期间教学工作的部署和要求,把“停课不停教、停课不停学”的要求落到实处,威尼斯官网已于2月24日正式线上开课,目前已运行两周。信息科学与工程学院的全体教师都以饱满的工作热情投入到新的教学模式中,并在教学实施的同时不断总结经验,优化教学手段,完善教学模式,加强教学保障,跟进教学反馈,以学生满意度及学习效果为根本出发点。目前,线上教学取得初步成果。
我院钮小萌老师所讲授的《数据结构》,是一门重要的专业基础课,是学习编译原理、操作系统、数据库等课程的基础。为了让学生尽快适应新的教学模式,夯实课程的基本功,钮小萌老师在两周的线上教学中,有意识、有目的、综合性地思考教学目标、教学途径、教学检测,通过P(Plan)计划、D(Do)执行、C(Check)检查、A(Act)行动的“闭环教学模式”思路,形成“课程组织、课前预习、在线学习、课后评价、课程改进”的一体化教学实施路径。
一、课程组织
1.教学平台的选择
钮小萌老师采用“线上MOOC”+“直播串讲答疑”的教学模式。
为解决在线教学资源和平台问题,欢迎光临welcome威尼斯教务处从2月初就积极协调二级学院制定线上教学计划,选择多家平台(超星、智慧树和中国大学MOOC平台等),开放上千门课程资源供教师选择,并分批组织平台技术人员对教师进行线上教学培训。通过三大平台上线的《数据结构》课程对比,最终选择中国大学MOOC平台(见图1、图2)、由华中科技大学李国徽教授讲授的《数据结构》为学生在线学习视频资源。
MOOC平台的在线学习,其优势在于优质教学资源可以不受区域的限制被充分共享,促进学生的全面学习、终身学习。学生可以根据自己的理解程度,有针对性的反复观看某些知识点或跳过已掌握知识点,实现学习时间及听课内容的自我控制。同时,基于大数据的学习分析技术能及时促进教师完善和改进教学内容,帮助学员自我调整学习计划和学习方法。
但是,教学过程应突出“教”与“学”的互动,MOOC平台的在线学习缺乏传统课堂中欢快的、互相感染、及时互动的氛围,特别是学生随时出现的疑难问题得不到解决。因此,钮小萌老师选择了“腾讯课堂”(见图3、图4)直播的方式,对每个章节的内容进行串讲,并集中解决学生提出的疑难问题。

图1 中国大学MOOC首页 图2 中国大学MOOC后台管理界面

图3 腾讯课堂登录页面 图4 腾讯课堂操作页面
2.教学资料的准备
教学资料是保证学生开展学习的必备条件,良好的线上教学效果离不开丰富、全面的教学资料。由于疫情突如其来,部分学生手中没有教材,为了不影响学习效果,教师为学生准备了电子教材。同时,教师还精心制作了PPT、课程教案、学习单、相关算法演示视频、练习题等,为学生的充分学习提供保障(见图5)。
3.学生的组织管理
班级QQ群是师生沟通交流的主要工具,课程的共享文件、通知、课前组织都使用QQ群完成。上课前15分钟在QQ班级群提醒同学们即将开始上课,开课前10分钟时,组织同学们进入微信小程序“慕课堂(中国大学MOOC课堂辅助小程序)”签到,如果当次课需要开直播,在课前5分钟将课堂的邀请码发至QQ群,等待学生加入直播课堂(见图6、图7)。

图5 课程教学资料
为保障整个线上教学过程顺利开展,钮老师于开课前一日开展直播预备课。一方面检测直播影像及声音是否流畅,另一方面让学生熟悉各个平台、程序的操作,了解授课形式及学习安排、考核方式等。

图6 学生的组织管理方式

图7 微信小程序“慕课堂”签到
二、课前预习
提倡课前预习,根据新课内容,教师向学生发送“预习单(见图8)”,鼓励学生在专题学习之前了解背景知识并提出问题,必要时借助视频资料,激发学生积极思考。课堂上,教师拿出5至10分钟时间回应预习结果,引导学生进入本次课的学习。
同时,教师课前向学生发送“学习单(见图9)”,向学生详细说明本节课的学习内容、学习步骤、重点难点及课后作业等,让学生对本次课的学习任务做到心中有数。

图8 预习单图9 学习单
三、在线学习
在线学习是整个线上教学模式的中心,是学生获得新知的重要途径。中国大学MOOC平台给学生提供了优质的课程视频学习资源(见图10),帮助学生构建起完整的知识体系。

图10 学生在中国大学MOOC平台听课
只靠在线学习,无法实现课堂教学的灵魂——教学互动。为了弥补这一不足,达到在线学习效果的最大化,钮老师充分运用新技术,突出教与学的互动,调动学生的参与面和参与度,注重在平等沟通、互动交流中进行思想引导。平时,钮老师注意学生疑难问题的收集整理,运用腾讯共享文档随时记录学生在学习过程中碰到的难题(如图11),学生谁有问题,谁在共享文档中进行录入。

图11 通过腾讯共享文档收集学生问题
老师在收集整理后进行统计分析,并将问题分类汇总,按优先级排序,对提出的问题通过腾讯课堂进行直播讲解(如图12),对于个别性的问题,单独与学生沟通解决。这一方法的运用,使得教师可以动态掌握学生的学习情况,学生也有了问题解决的出口,有效的弥补了在线视频学习的不足。

图12 钮老师直播答疑
三、课后评价
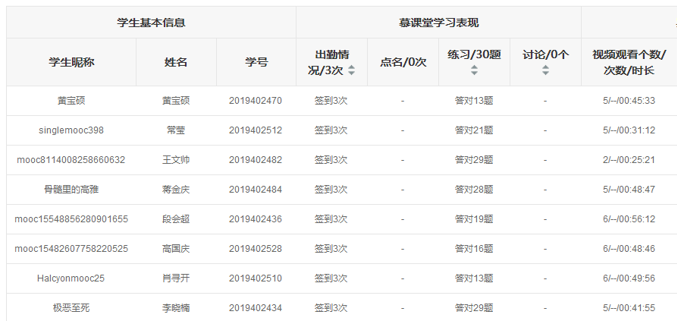
对学生进行学习评价是教学过程的重要环节,线上教学也不例外。考虑这种学习方式的特殊性,学习评价分为课堂同步学习评价及课后学习效果评价。课堂同步学习评价主要考虑学生的签到情况——有误迟到早退旷课现象以及在线学习时长数据(如图13),确保学生按教学进度完成每一次课的学习任务。

图13 课堂同步学习评价(在线学习情况统计)
课后评价主要包括课后作业的完成情况以及单元测试成绩。每节课老师都会布置相应的作业,学生需在指定的时间内完成并上交,由教师作出评价。单元测试需要在指定的时间内完成,系统自动进行成绩评定。教师可通过后台成绩汇总查看每一位同学的分数,方便掌握学生的学习效果及需要补充讲解的内容(如图14所示)。

图14 课后评价(在线测试成绩统计)
五、课程改进
截至目前,线上教学模式开展了两周的时间,学生反映良好。虽然有后台数据的支撑,能够实现可监督可反馈,但是仍然有不足之处,不能确保每位同学都能认真的完成学习任务。下一步,根据相关学习数据统计,进一步开展学情分析,为学生提供差异化、个性化的学习辅导方案,同时,动态调整教学内容,不赶进度,注重效果。确保“停课不停学”在疫情防控期间顺利开展。具体改进如下:
1.对特殊学生教学管理的改进
班里有来自新疆的学生,这些学生的作息时间与省内学生有两小时的时差,有些课程时间的安排对于他们很难实施,因此放宽对这些同学在考勤、上课时间的要求,允许他们晚一点完成教学任务。对于家庭困难和无条件上网学习的学生,信息科学与工程学院组织捐款、将个人闲置手机捐赠给无电子设备的学生使用,帮助没有网络的学生办理流量卡等举措,力争让家庭困难的学生用上智能手机及网络。无条件上网学习的学生,主要为山区或偏远地区,4G网络未覆盖的地区,采取将纸质教学资料邮寄的方式,让学生在家自学,开学之后再进行重点辅导。不建议其上网吧等其他公共场所。对网络学习方式不适应、学习基础较弱的学生择机增加一对一辅导,以提高在线教学的针对性和实效性为标准。
2.对教学内容选择性讲解的改进
线上教学以基础知识的讲解为主,章节中的难点问题不必过分要求学生,可以先让学生进行初步学习,只要能保证知识的前后衔接即可。学生可以在教材中或笔记中作出标记,记录尚未掌握的难点问题。课程讲解内容的选择以大部分学生的掌握能力为依据,对于掌握能力强的或者对难点问题感兴趣的,可以增加辅导课,加强这部分学生对难点知识的掌握程度。对于线上讲解不能很好消化吸收的学生,可以在疫情解除后,开展有针对性的线下补充讲解。这样既可以保证大部分学生在线学习的积极性,又能兼顾不同学生的个性化学习,二者有机结合,切实提高混合式教学模式的教学效果。
